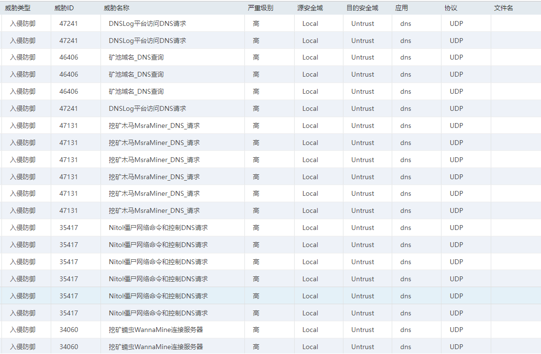
源地址是公网IP,目的地址是DNS+53端口,这个改如何排查,我断掉所有内网能上网的终端,还是会有
(0)
最佳答案
安全策略限制一下,限制公网到防火墙的DNS请求
(0)
从公网过来的吧,安全策略限制掉就好
您好,把53端口的外部访问关掉就好
(0)
关掉还是有
关掉还是有
我感觉你解决问题的方向错了,你现在要做的是 解决这个终端中毒的问题,而不是说把终端断网,你纯粹断网有什么用呢,终端没有关机的情况下,一直会在请求啊,所以你防火墙一直还是会有日志啊
你要做的是把中毒的那台终端关机,而不是断网
(0)
display attack-defense top-attack-statistics
用这个命令看一下哪个地址被攻击的多
(0)
查不到相关的,只有一条外部攻击的
查不到相关的,只有一条外部攻击的
亲~登录后才可以操作哦!
确定你的邮箱还未认证,请认证邮箱或绑定手机后进行当前操作
举报
×
侵犯我的权益
×
侵犯了我企业的权益
×
抄袭了我的内容
×
原文链接或出处
诽谤我
×
对根叔社区有害的内容
×
不规范转载
×
举报说明
没开,local看解释是防火墙本身